
Please Note: We require a minimum order value of €55 for all Doughty products.
- Shipping note: All Doughty products ship from the UK with customs charges prepaid. If you have any questions, please contact us.
Fraktkalkylator
Betalningsmetoder
Produktinformation
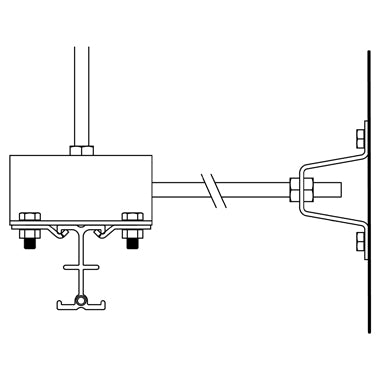
Doughty Studio Rail - upphängningsfästet
Upphängningskonsolen möjliggör två eller tre Doughty Studio -järnvägsstorlek 60 och storlek 80 80 från en upphängningspunkt.
Rälsarna är fördelade på Studio Rail Standard 150mm -centra.
Alternativet att använda en sidfästning är standard med detta konsol som möjliggör rutnät eller omkretsskenor med väggfixeringar.
Studio Rail 80 Med tvärsnittsdimensionerna är 82 mm x 49mm mer tunga än Studio Rail 60 med tvärsnittsdimensionerna 61 mm x 35 mm. För alla förfrågningar, vänligen kontakta oss via chatt.
För alla förfrågningar, vänligen kontakta oss via chatt.
Specifikationer - Studio Rail 80
- SWL: 100 kg
Specifikationer - Studio Rail 60
- SWL: 100 kg
- Fixa hål: 13 mm diameter
- Bredd: 100 mm
-
Längd:
T84117 (dubbel järnvägsfäste): 250mm
T84118 (Triple Rail konsol): 400mm
Se bilderna för mer information.